Домкрат Винтовой Чертеж

Домкрат Винтовой Чертеж

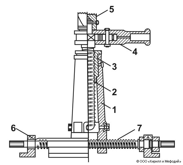
Домкрат механический винтовой. Этот тип винтовочного домкрата используется в различных областях, где необходимо поднимать важные тяжелые грузы или изменять формат автоматизированной линии производства как машины для обработки листового металла, запаковка, распечатка, текстиль, возобновляемая энергия и другие. В следующей таблице, указаны. Высокие нагрузки могут быть получены через редуктор CHIARAVALLI. В нашем каталоге. С помощью валов и кулачковых муфт производится соединение электродвигателя, угловых редукторов и домкратов в нужной для вас последовательности согласно схеме. Данная конструкция будет изготавливаться, валы строго по размерам нарезаться и после чего собираться на заводе, что бы избежать возвратов и неточностей с вашей стороны. Они могут быть использованы, отдельно или в. Связанные с. трансмиссионными валами и другими механическими элементами, гарантирующие идеальную. Промышленные домкраты CHIARAVALLI могут переносить груз от 0,5 до 2. Bezyimyannyiy.jpg' alt='Домкрат Винтовой Чертеж' title='Домкрат Винтовой Чертеж' />Домкрат Винтовой ЧертежВинтовой домкрат бутылочного типа, грузоподъмностью до 50 тонн. Для проведения такелажных работ. Работает в любом. Инструмент Расчет винтового домкрата. Курсовая работа. Размер домкрата по высоте. Чертежи для Компас и AutoCad, расчеты в формате Word. Домкрат Винтовой Чертежи' title='Домкрат Винтовой Чертежи' />Домкрат Винтовой ЧертежЧитать работу online по теме ЗАДАНИЕ. Инструкция К Веритас 8014 35. Выполнить сборочный чертж устройства и рабочие чертежи винта. Винтовой домкрат вполне способный механизм для любой работы. А если глянуть на схему, которую имеет двухвинтовой домкрат, чертеж покажет. Винтовой домкрат на салазках 1 корпус 2 грузонесущий винт 3 направляющая рейка 4 рукоятка 5 чашка для груза 6 салазки.

Домкрат Винтовой Чертеж
© 2017